山東風途物聯網科技有限公司
聯系人:杜經理
聯系電話:16652863761
QQ:2749609891
公司地址:山東省濰坊市高新區光電路155號光電產業加速器(一期)

PRODUCT
聯系人:杜經理
聯系電話:16652863761
QQ:2749609891
公司地址:山東省濰坊市高新區光電路155號光電產業加速器(一期)
產品型號:FT-F1H
產品價格:8800元
產品品牌:風途
一、三維無人機風速風向儀產品介紹
三維無人機風速風向儀又稱三維超聲風速儀,三維無人機風速風向儀是一款無移動部件的超聲波風速風向儀,搭載在無人機上對風速和風向進行精確測量。三維無人機風速風向儀結構設計緊湊(測量路徑僅35毫米),重量輕(114克)。盡管它的體積小,但它是一個功能強大、高度精確的測量測風傳感器,用于大氣監測、天氣報告和環保氣流系統研究,可以提供風速、風向、傾斜度、電子羅盤和北斗等數據。
三維無人機風速風向儀可以提供空氣流動精確的三維風測量數據。數據輸出可以根據用戶需求定制。
三維無人機風速風向儀的小尺寸外形和重量輕巧使其成為無人機系統(UAS)的完美選擇,沒有移動部件,消除了維護問題,使其能夠放置在固定或移動平臺上進行自然界中實時三維氣流測量。
二、三維無人機風速風向儀應用領域
大氣探測與科研
U,V,W矢量輸出
無人機高空氣流監測系統
應急救援特殊地表空氣湍流監測
人工影響天氣邊坡氣流上升監測
三、三維無人機風速風向儀技術參數
| 風速 | 測量范圍 | 0-50m/s |
| 精度 | ±2% | |
| 分辨率 | 0.1m/s | |
| 風向 | 測量范圍(U/V) | 0-359° |
| 測量范圍(W) | ±60° | |
| 精度 | ±3° | |
| 分辨率 | 1° | |
| 超聲波輸出頻率 | 1Hz(標準輸出);2Hz,5Hz,10Hz(選配) | |
| 測量單位 | m/s,knots,mph,kph,ft/min | |
| 數字/模擬輸出接口 | RS232/RS485(選其一) | |
| 通訊波特率 | 4800-19200 | |
| 防護等級 | IP65 | |
| 工作溫度 | -40℃-+70℃ | |
| 電磁屏蔽 | 符合EN61000-6-2標準 | |
| 電源需求及功耗 | DC9-30V(30mA@12V) | |
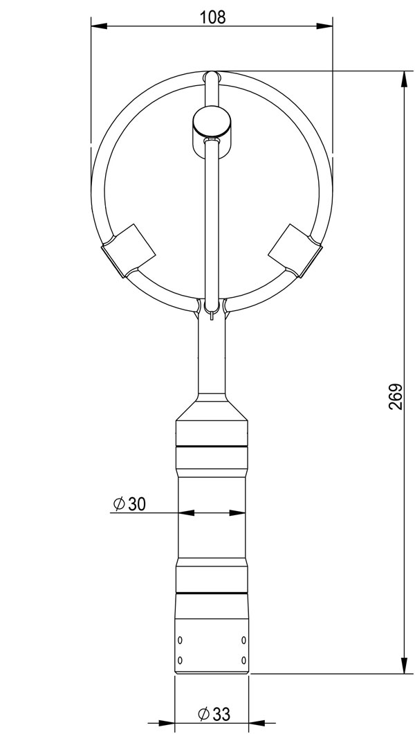
| 外型尺寸/重量 | Φ108×269mm/114g | |
| 材料 | 黑色樹脂 | |
四、三維無人機風速風向儀產品尺寸圖
更新時間:2026-03-06
本文地址:http://www.net-bridge.com.cn/fsjl/1644.html國產氣象站傳感器批發
2022-08-12 14:24:52環境氣象傳感器價格
2022-04-08 14:41:38六要素微氣象儀技術參數
2022-12-15 18:25:42微型氣象站的優點
2023-07-13 17:07:27氣象傳感器的實際作用
2024-10-17 16:24:12微型氣象站哪個牌子好用?
2022-09-20 09:15:54實時空氣質量監測微型站
2024-03-19 16:58:24農業氣象站對農民有什么幫助?
2022-01-27 15:37:32輸變電微氣象傳感器的作用
2022-05-26 14:59:28蒸發量傳感器基于稱重原理測量水面蒸發量
2025-12-30 10:57:51